日前,本届世界杯四强已经产生。随着传统强队德国、巴西、阿根廷、葡萄牙、西班牙纷纷止步四分之一决赛,法国队已然成为夺冠大热门。据CIES的数据显示,在今夏世界杯的身价榜中,所有参赛球员的总转会价值高达126亿欧元。而法国队摘得了最贵球队称号,23人总价值为14.1亿欧元。就目前的比赛看,这支法国队也没有辜负这昂贵的身价,小组赛就以C组头名的身份昂首出线,淘汰赛阶段又先后将阿根廷、乌拉圭斩于马下,半决赛打破比利时连续二十四场不败的神话,进军决赛,已然离大力神杯只有一步之遥。
而在本届世界杯的法国队中,最亮眼的球员莫属19岁的小将姆巴佩了。尤其在对阵阿根廷一役中,他以超强的个人能力搅得阿根廷队年迈的后防线手忙脚乱,一人独进两球几乎以一己之力淘汰了阿根廷队。他就这样带着他满身的才气和活力以凌厉的方式闯进全世界的视线中,开始了在世界舞台上的表演。
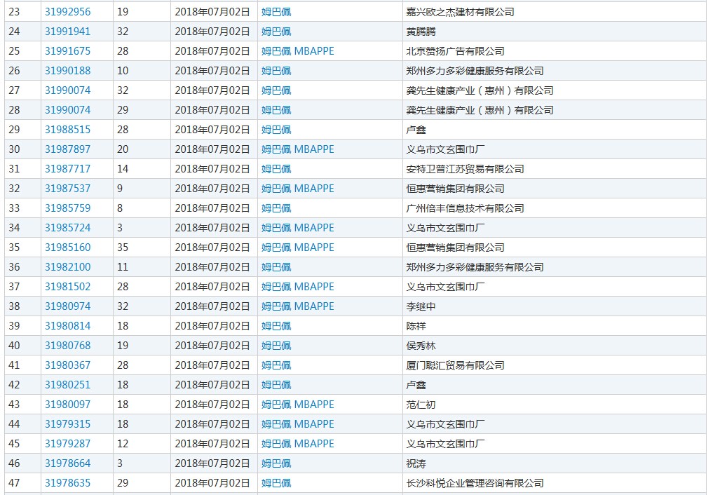
当姆巴佩这个名字开始让所有人记住的时候,我们也发现,在商标局官网上已经有人将其注册成了商标。通过查询我们发现,最早在2017年4月就有公司在25类服装上注册了“姆巴佩”这一商标,而那时,正是姆巴佩以亮眼的战绩助力法甲摩纳哥队跻身当年欧冠半决赛之时。

在此之后,姆巴佩连续两个赛季获得法甲年度最佳新人称号并转会至法甲豪门巴黎圣日耳曼,并以差9票满分的创历史的方式获得了欧洲金童奖,姆巴佩的名字越来越耀眼。与此同时,我们也可以看到在各个类别上申请“姆巴佩”这一商标的也越来越多。

在本届世界杯开赛后,随着姆巴佩的天赋与才华开始绽放,申请“姆巴佩”这一商标的人数又迎来了井喷式的增长,短短数日,就有八十多个关于“姆巴佩”的新申请。


其实,国外体育明星的名字在我国被人抢注成商标的案例并不少见。如著名的“乔丹”商标案, 历时六年的“乔丹”商标之争终于落下帷幕。北京知识产权法院近日审结了乔丹体育与国家工商行政管理总局商标评审委员会就“乔丹QIAODAN”商标侵权一案,认定诉争商标具有欺骗性,驳回原告乔丹体育公司的诉求。法院认为:“乔丹体育公司明知迈克尔·杰弗里·乔丹在我国具有长期、广泛的知名度,仍然使用‘乔丹’申请注册争议商标,容易导致相关公众误认为标记有争议商标的商品与迈克尔·杰弗里·乔丹存在代言、许可等特定联系,损害了迈克尔·杰弗里·乔丹的在先姓名权。”
如果说一开始“乔丹”这个名字所带的知名度为乔丹体育开拓市场提供了一些营销便利,随着企业的发展,这个带有一定纠纷的商标也为公司的发展埋下了不小的隐患。2011年,乔丹体育冲击IPO就已通过发审会,并计划于次年3月底前挂牌上市,但却在次年2月被迈克尔·乔丹告上法庭,致使乔丹体育后来未能如愿拿到上市的正式批文。
品牌是一个企业发展的根基,在创办之初就应该重视品牌建设,有知识产权保护意识和忧患意识。“蹭”名人热度,打擦边球获得效益终究不是长远之计。这轮“姆巴佩”商标抢注浪潮中,看似这些申请人很有眼光的发现了“新起之秀”,但暂且不论能否通过商标局审查以及后期能否通过使用将该商标的品牌价值发挥出来,一旦姆巴佩本人得知在千里之外的中国有人以他的名字抢注商标,完全可以通过法律途径对这些商标提起异议或无效程序。到那时,申请人可能面临着不占上风的商标争夺和前功尽弃的品牌投入,得不偿失。
世界杯四年才举办一届,这颗星球上现役最伟大的球员都汇聚在这里尽情挥洒汗水,迸发激情与才华。在这一个月的赛程中,全世界的目光都聚焦在这片绿茵场上,想从其中投机取巧不如全身心的享受比赛,享受竞技体育带给我们的激情。赛场之外,想推广一个好的品牌,可还是要扎扎实实的从原创上做文章。
郑州睿信有限公司原创,转载请标明出处!